Guglielmo Marconi
The Invention of Radio
Repeat Marconi's Radio Experiments


Home Projects Experiments Warning!

The Invention of Radio

Marconi's Transmitter 1900
Early in the 19th century, Michael Faraday, an English physicist, demonstrated that an electrical current could produce a magnetic field.

In 1864, James Clerk Maxwell, a professor of experimental physics at Cambridge, proved mathematically that any electrical disturbance, that generates an electromagnetic field, could produce an effect at a considerable distance from the point at which it occurred and predicted that electromagnetic energy could travel outward from a source as waves moving at the speed of light.

In 1888 Heinrich Hertz demonstrated that Maxwell’s prediction was true for transmission over a short distance.

In 1901 the Italian physicist, Guglielmo Marconi, perfected a radio system that transmitted Morse code over the Atlantic Ocean.

In 1906 the American physicist Lee De Forest invented the vacuum tube which amplified radio signals that were received by antenna, thus much weaker signal could be transmitted over longer distance. The vacuum tube was also used to generate radio waves and soon become the main component of radio transmitter.

After World War II more advancements were made: The replacement of the vacuum tube by the transistor and of wires by printed circuits drastically reduced the power that radio equipment needed to operate enabling radio components miniaturization and more reliability.

During the years claims were made that as a matter of fact not Marconi invented radio but Oliver Lodge, Alexander (Aleksandr) Popov or Nikola Tesla , had sent wireless messages before Marconi got his patents (British 7777, US 763,772).

In 1943, in a celebrated 1943 Supreme Court decision, Marconi's 1904 US patent No. 763,772, was found to be invalid. As a result, some claim that this decision proves that Nikolai Tesla is the inventor of radio.

It does not really matter. What Marconi undoubtedly did invent was an entirely new science-based industry. In his hands an obscure and, to most people, unintelligible branch of physics became a consumer product like no other. We are used to being told that some new technology will change the world. Marconi's is one of the few that did.

For his scientific contribution Marconi was awarded the Nobel Prize in physics for the year 1909.

Repeat Marconi's Radio Experiments

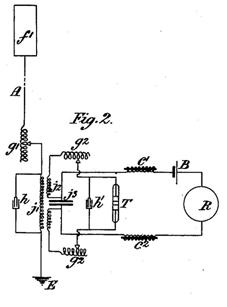
Marconi's Receiver 1900
Warning: experiments with electricity should be performed under the supervision of teachers or adults familiar with electricity safety procedures. Especially, take in account that experiments with induction coils and capacitors can produce high voltage shocks.

Marconi's experiment – creating, sending and detecting radio waves – is relatively simple, not beyond the abilities of high school students. In order to begin, read carefully the resources provided by this site and ensure that you understand the basic principals. Brows further the web and consult your local library, your teachers and other knowledgeable adults and experts.

Marconi's transmitter (Fig 1) and receiver (Fig 2) are taken from the US, mentioned above, patent 763772 issued in 1904, and which was at the core of the litigation dispute of 1943.

Before this patent, Marconi's radio equipment was limited by being essentially untuned, which greatly restricted the number of spark-gap radio transmitters which could operate simultaneously in a geographical area without causing mutually disruptive interference (like Heinrich Hertz spark gap transmitter). In this patent, Marconi addressed this defect with a much more sophisticated design, which featured two tuned-circuits at both the transmitting and receiving antennas.

A good place to begin is to study Marconi's patent, which can be found in many places on the web. http://www.freepatentsonline.com...

Resources

Books
Bray, J. The Communications Miracle. New York: Plenum, 1995
Bussey, G. Marconi's Atlantic Leap. Coventry: Marconi Communications, 2001
Garratt, G. R. M. The Early History of Radio from Faraday to Marconi. London, IEE, 1993
Marconi, D. My Father, Marconi. Toronto: Guernica Editions Inc., 2nd edn, 1996

Marconi's Experiments Links:
Article from "Experimental Science, G.M. Hopkins, 1902" - Frederick Collins
Did Marconi Receive Transatlantic Radio Signals? (part 1) - Henry M. Bradford
Did Marconi Receive Transatlantic Radio Signals? (part 2) - Henry M. Bradford
A Look at Some of Marconi's Technology - R. Victor Jones

Radio & Wireless Science Fair Projects and Experiments:
Electronics Science Fair Projects and Circuits

Invention of Radio History Links:
Who Invented Radio? Marconi or Tesla?
Marconi's Patent: 1900 - Sparkmuseum
Misreading the Supreme Court: A Puzzling Chapter in the History of Radio - The Mercurians
Who Invented Radio?
History of Radio
Tesla: Master of Lightning - PBS
Invention of Radio
Alexander Stepanovich Popov - Spektrum
Alexander Stepanovich Popov - Mastertel

Further Reading



Scientists & Inventors
Ampère André-Marie
Archimedes
Baird John
Bell Alexander
Carver George
Cavendish Henry
Darwin Charles
DNA
Eastman George
Edison Thomas 1
Edison Thomas 2
Einstein Albert
Electric Motor
Eratosthenes
Faraday Michael
Fitzroy Robert
Foucault Léon
Franklin Benjamin
Fuel Cell
Galileo Galilei 1
Galileo Galilei 2
Gutenberg Johannes
Hertz Heinrich
Joule, James Prescott
Leonardo da Vinci
Leeuwenhoek Antonie
Marconi Guglielmo
Mendel Gregor
Michelson-Morley
Miller-Urey Experiment
Millikan Robert
Morse Samuel
Newton Isaac
Ohm Georg
Oxygen
Pavlov & Skinner
Photosynthesis
Pitch Drop Experiment
Radio Inventions
Spectrum of Light
Tesla Nikola
Torricelli Evangelista
Transistor
Tycho Brahe
Volta Alessandro
Whitney Eli
Wright Brothers
Young Thomas
Zuse Konrad
Ampère André-Marie

Home Fair Projects Experiments
Scientists & Inventors Science Jokes Warning!



Follow Us On:
       

Privacy Policy - Site Map - About Us - Letters to the Editor

Comments and inquiries:
webmaster@julianTrubin.com


Last updated: February 2018
Copyright 2003-2018 Julian Rubin